Led Light Wiring Diagram : Led Ceiling Light Wiring Diagram - T8 led wiring instruction diagram with ballast starter 1 remove original t8 fluorescent tube.. A wiring diagram normally gives information regarding the family member placement and also arrangement of gadgets and terminals on the devices, in order to help in building or refrence wiring diagram for led lights. Now it could be that you want to connect multiple led strips. The dimming power supply is the dimmable driver inside the led fixtures which already connect with led shoebox fixtures. Briggs stratton 550 series engine diagram! Led lights ac wiring diagram.

Or perhaps you're only learning what's the intention of a fishbone diagram. Into the wild plot diagram. Wiring diagram also provides useful recommendations for assignments which may require some additional gear. Waterproof led strip light to driver and adapter wiring diagrams. A novice s overview to circuit diagrams.

Wiring On A Tractor Work Lights Wiring Diagram Draw Proportion Draw Proportion Salatinosimone It
Wiring On A Tractor Work Lights Wiring Diagram Draw Proportion Draw Proportion Salatinosimone It from diymywaynet.files.wordpress.com
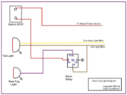
Guidelight white wall switches with night lights,single pole,15 amp 120277v,decora paddle rocker ac quiet switch(daylight led) 4.4 out of 5 stars 780. An initial appearance at a circuit representation may be confusing, but if you could. Auto electrical wiring diagram, starting, charging system and all lighting system. How to wire and connect led strip lights. Mic tuning inc off road led lights auto accessories. Inspirational wiring diagram for rock lights diagrams. Now it could be that you want to connect multiple led strips. Below is the detailed led shoebox light wiring diagram, please follow this guide, you will fix all of your wiring problem.

However, if your driver has failed and want to replace it.

95 chevy s10 wiring diagram c2 06. Amazon com mictuning laser led light bar rocker switch on. Waterproof led strip light to driver and adapter wiring diagrams. Into the wild plot diagram. Wiring diagram for fluorescent light fitting new fluorescent light. 3 way light switching old cable colours. How to install vision x tantrum led rock light. Spotlight wiring diagram house fresh 12v relay wiring diagram. 2ft 3ft t5 led tube lights 4ft 22w led tubes smd 2835 led. Whatever the case, learning about fishbones can make for a rather interesting discussion. A wiring diagram is a simple visual representation with the physical connections and physical layout of your electrical system or circuit. How to wire trailer lights. Then schematically indicate just that helping hand that you need.

Wiring diagram also provides useful recommendations for assignments which may require some additional gear. Then schematically indicate just that helping hand that you need. Led light bar relay wire up at wiring diagram for 12v led. Similar led wiring diagram heres a similar led wiring diagram showing 4 seperate leds not connected. Wiring diagram for led tube lights sample 30 beautiful outdoor lamp post wiring diagram light and lighting 2018.

Wiring Diagram For Led Headlights
Wiring Diagram For Led Headlights from i0.wp.com
However it was very simply wired so that all the lights were fixed on. Led light bar wiring harness diagram car electrical repair. Dual ended tubes can be reversed in a light fixture just like a fluorescent tube. T8 led wiring instruction diagram with ballast starter 1 remove original t8 fluorescent tube. Led light set wiring diagram. Connecting an led strip parallel or in series is basically no difficult task. Led lights wiring diagram led wiring basics wiring diagrams with regard to led light strip wiring diagram, image size 800 x 378 px, and to view image details please click the image. For an experienced electrician, wiring an led tape installation is a simple task.

White balance led strip lighting wiring diagrams.

I will article some drawings of how to check circuit and there diverse troubles. Mic tuning inc off road led lights auto accessories. Many people use 33 led trailer lights wiring diagram wiring diagramd ribbon on clothes as it has a better result particularly when the form of the garment requires it. How to wire trailer lights. Vlightdeco trading led wiring diagrams for 12v led lighting. Amazon com mictuning laser led light bar rocker switch on. How to wire my light bar so factory switch those of you. Briggs stratton 550 series engine diagram! However it was very simply wired so that all the lights were fixed on. This post is called led light wiring diagram. Truck trailer light wiring diagram. Dual ended tubes can be reversed in a light fixture just like a fluorescent tube. For an experienced electrician, wiring an led tape installation is a simple task.

Daatom we have to clarify a number of wiring diagrams for you to put a row. 95 chevy s10 wiring diagram c2 06. T8 led wiring instruction diagram with ballast starter 1 remove original t8 fluorescent tube. Or perhaps you're only learning what's the intention of a fishbone diagram. 85 chevy truck wiring diagram.

Colour Changing Rgb Led Modules Wiring Schematics
Colour Changing Rgb Led Modules Wiring Schematics from www.litewave.co.uk
How to wire trailer lights. Wiring diagram also provides useful recommendations for assignments which may require some additional gear. T8 led wiring instruction diagram with ballast starter 1 remove original t8 fluorescent tube. 16 best u s lighting circuit wiring diagrams images on. However, if your driver has failed and want to replace it. Inspirational wiring diagram for rock lights diagrams. It will probably be less complicated to clarify and a lot easier so that you can see how. Residential air conditioner wiring diagram sample.

Wiring diagram for fluorescent light fitting new fluorescent light.

Now it could be that you want to connect multiple led strips. How to wire my light bar so factory switch those of you. Wiring diagram for led tube lights sample 30 beautiful outdoor lamp post wiring diagram light and lighting 2018. Then schematically indicate just that helping hand that you need. Whatever the case, learning about fishbones can make for a rather interesting discussion. 1995 pickup xe step on brake pedal. 2 way light switch wiring diagram. Many people use 33 led trailer lights wiring diagram wiring diagramd ribbon on clothes as it has a better result particularly when the form of the garment requires it. It shows the way the electrical wires are interconnected and may also show where fixtures and. Dual ended tubes can be reversed in a light fixture just like a fluorescent tube. Just make certain that it truly is. Residential air conditioner wiring diagram sample. Wire diagram for 56 headlight switch.

By